19 KiB
ESP32-S3-EYE v2.2
本指南将帮助您快速上手 ESP32-S3-EYE v2.2,并提供该款开发板的详细信息。
注意
如果您使用的是 ESP32-S3-EYE v2.1,请参考本指南。v2.2 相对 v2.1 的变化在硬件版本小节中列出。
ESP32-S3-EYE 是乐鑫推出的一款小型 AI(人工智能)开发板,搭载 ESP32-S3 芯片和乐鑫 AI 开发框架 ESP-WHO。开发板配置一个 2 百万像素的摄像头、一个 LCD 显示屏和一个麦克风,适用于图像识别和音频处理等应用。板上还配有 8 MB 八线 PSRAM 和 8 MB flash,具有充足的存储空间。此外,ESP32-S3 芯片还为开发板提供了 Wi-Fi 图传和 USB 端口调试等功能。您可以使用 ESP-WHO 开发各种 AIoT(人工智能物联网)应用,例如智能门铃、监控系统、人脸识别打卡机等。
![]() |
|---|
| ESP32-S3-EYE |
本指南包括如下内容:
- 入门指南:介绍了开发板的功能和特性、组件、包装,以及如何快速使用开发板。
- 开始开发应用:说明了开发板烧录固件需要的硬件设置和软件设置。
- 硬件参考:详细介绍了开发板的硬件。
- 硬件版本:介绍硬件历史版本和已知问题,并提供链接至历史版本开发板的入门指南(如有)。
- 相关文档:列出了相关文档的链接。
1. 入门指南
1.1. 概述
ESP32-S3-EYE 开发板包含两部分:一块主板 ESP32-S3-EYE-MB,配置 ESP32-S3-WROOM-1 模组、摄像头、SD 卡槽、数字麦克风、USB 接口和功能按键等;一块子板 ESP32-S3-EYE-SUB,配置 LCD 显示屏等。主板和子板通过排针连接。
1.2. ESP32-S3-EYE 与 ESP-EYE
ESP32-S3-EYE 相比 ESP-EYE 支持更多功能。下表列出了两款开发板的主要不同之处:
| 特性 | ESP32-S3-EYE | ESP-EYE |
|---|---|---|
| 内置芯片 | ESP32-S3 | ESP32 |
| PSRAM | 8 MB 八线 PSRAM | 8 MB 四线 PSRAM |
| Flash | 8 MB flash | 4 MB flash |
| LCD 显示屏 | 有 | 无 |
| 加速度传感器 | 有 | 无 |
| 可选电源 | 外接锂电池 | 无 |
| USB 至 UART 桥接器 | 不需要,由 ESP32-S3 USB Serial/JTAG 接口提供 | 需要 |
| 天线连接器 | 不需要,由 ESP32-S3-WROOM-1 模组提供 | 需要 |
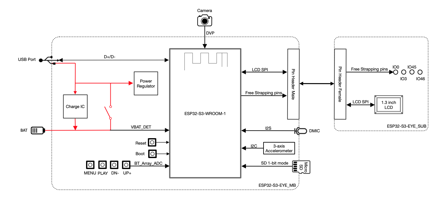
1.3. 功能框图
功能框图显示了主板 ESP32-S3-EYE-MB(左侧) 和子板 ESP32-S3-EYE-SUB(右侧)的主要组件,以及组件之间的连接方式。
![]() |
|---|
| ESP32-S3-EYE 功能框图 |
下面分别介绍主板和子板上的主要组件。
1.4. ESP32-S3-EYE-MB 主板组件
![]() |
|---|
| ESP32-S3-EYE-MB - 正面和背面 |
下面从摄像头开始依次介绍主板正面和背面的主要组件。
| 序号 | 主要组件 | 介绍 |
|---|---|---|
| 1 | Camera(摄像头) | OV2640 摄像头,200 万像素,66.5° 视角,最高支持 1600x1200 分辨率。开发程序时可以配置分辨率。 |
| 2 | Module Power LED(模组电源指示灯) | 开发板连接 USB 电源,模组电源指示灯绿灯亮起。如果绿灯不亮,则表示 USB 电源未接入,或者 5 V 转 3.3 V LDO 损坏。软件可以通过配置 GPIO3 为开发板的不同状态设置不同的 LED 灯组合状态(常亮/熄灭,闪烁等)。注意 GPIO3 必须配置为开漏模式,否则可能损坏 LED 灯。 |
| 3 | Pin Headers(排针) | 连接子板的排母。 |
| 4 | 5 V to 3.3 V LDO(5 V 转 3.3 V LDO) | 模组电路的电源转换器,输入 5 V,输出 3.3 V。 |
| 5 | Digital Microphone(数字麦克风) | MEMS 数字麦,I2S 通信,灵敏度 -26 dBFS,SNR 61 dB,3V3 供电。 |
| 6 | FPC Connector(FPC 接口) | 通过 FPC 排线连接主板和子板。 |
| 7 | Function Button(功能按键) | 板子上有 6 个功能按键,除了 RST 键不能配置,您可以配置其他 5 个按键的功能。 |
| 8 | ESP32-S3-WROOM-1 | ESP32-S3-WROOM-1 模组,内置 ESP32-S3R8 芯片,集成 Wi-Fi 和 Bluetooth 5 (LE) 子系统,还有专门的向量指令用于加速神经网络计算和信号处理。ESP32-S3R8 芯片叠封 8 MB PSRAM,模组还另外带有 8 MB flash,可灵活高效读取数据。开发板也兼容 ESP32-S3-WROOM-1U 模组。 |
| 9 | MicroSD Card Slot(MicroSD 卡槽) | 可插入 MicroSD 卡,适用于需要扩充数据存储空间或备份的应用开发场景。 |
| 10 | 3.3 V to 1.5 V LDO(3.3 V 转 1.5 V LDO) | 摄像头的电源转换器,输入 3.3 V,输出 1.5 V。 |
| 11 | 3.3 V to 2.8 V LDO (3.3 V 转 2.8 V LDO) | 摄像头的电源转换器,输入 3.3 V,输出 2.8 V。 |
| 12 | USB Port(USB 接口) | Micro-USB 接口,可用作开发板的 5 V 供电接口,也可作为通信接口,通过 GPIO19 和 GPIO20 与芯片通信。 |
| 13 | Battery Soldering Points(电池焊点) | 可以焊接电池母座插头,用于外接锂电池,与 USB 供电二选一。请使用带有保护电路板和电流保险器组件的锂电池。建议电池规格:容量 >1000 mAh, 输出电压 3.7 V, 输入电压 4.2 V – 5 V。 |
| 14 | Battery Charger Chip(电池充电芯片) | 1 A 线性锂电池充电器 (ME4054BM5G-N),采用 ThinSOT 封装。充电电源来自 USB 接口。 |
| 15 | Battery Red LED(电池指示红灯) | 开发板连接 USB 电源,不接电池的情况下,红灯闪烁。接电池状态下,电池充电正在进行时,红灯亮;电池充电完成后,红灯灭。 |
| 16 | Accelerometer(加速度传感器) | 三轴加速度传感器 (QMA7981),用于屏幕旋转等使用场景。 |
1.5. ESP32-S3-EYE-SUB 子板组件
![]() |
|---|
| ESP32-S3-EYE-SUB - 正面和背面 |
下面从 LCD 显示屏开始逆时针依次介绍子板正面和背面的主要组件。
| 主要组件 | 介绍 |
|---|---|
| LCD Display(LCD 显示屏) | 1.3” LCD 显示屏,通过 SPI 总线连接芯片。 |
| Strapping Pins(Strapping 管脚) | 从主板引出的四个 strapping 管脚,空闲管脚测试点。 |
| Female Headers(排母) | 连接主板上的排针。 |
| LCD FPC Connector(LCD FPC 接口) | 通过 FPC 排线连接子板和 LCD 显示屏。 |
| LCD_RST | LCD_RST 测试点。您可以通过控制信号重启 LCD 显示屏。 |
1.6. 内含组件和包装
1.6.1. 零售订单
如购买样品,每个开发板将以防静电袋或零售商选择的其他方式包装。每个包装内含:
- 1 块 ESP32-S3-EYE-MB 主板
- 1 块 ESP32-S3-EYE-SUB 子板
主板和子板出厂时已组装好。
零售订单请前往 https://www.espressif.com/zh-hans/company/contact/buy-a-sample。
1.6.2. 批量订单
如批量购买,开发板将以大纸板箱包装。
批量订单请前往 https://www.espressif.com/zh-hans/contact-us/sales-questions。
1.7. 默认固件和功能测试
ESP32-S3-EYE 出厂即烧录默认固件 ,方便您立即上手使用开发板,体验语音唤醒、语音命令识别、人脸检测和识别的功能。
使用开发板前,您需要准备以下硬件:
- 1 套 ESP32-S3-EYE 开发板
- 1 根 USB 2.0 数据线(标准 A 型转 Micro-B 型),为开发板接入电源
通电前,请确保开发板完好无损,主板与子板已组装好。然后按照以下步骤开始使用开发板:
- 使用 USB 数据线连接开发板的 USB 接口与电源。开发板上电期间会有如下反应:
- 模组电源指示灯亮起并保持几秒钟,说明默认固件正在加载。
- 模组电源指示灯熄灭,说明默认固件加载完成。开发板默认进入人脸识别模式。
- LCD 显示屏播放实时画面。
现在,开发板已准备好等待执行命令。有两种方式操作开发板:物理按键或语音指令。下面先介绍通过物理按键操作开发板。
- 面对摄像头,显示屏上出现整张人脸,开发板开始检测人脸。检测到人脸后,显示屏上出现蓝色方框。
- 按下 MENU 键,开发板为检测到的人脸录入 ID(从 1 开始)。
- 按下 UP+ 键,开发板进行人脸识别。若识别到之前检测并录入的人脸,显示屏上出现相应的人脸 ID;若无法识别,显示屏上出现 "WHO?"(谁?)。
- 按下 PLAY 键,删除最新录入的人脸 ID,显示屏上出现 "XXX ID(S) LEFT"(剩 XXX 个 ID)。
下面介绍通过语音指令操作开发板:
- 重复上面步骤 1。
- 说出中文唤醒词“Hi 乐鑫”唤醒开发板。唤醒后,模组电源指示灯亮起,说明开发板在等待语音指令。
- 说出中文命令词,命令词识别成功后模组电源指示灯会闪烁,等待开发板执行命令。在人脸识别模式下,默认固件支持的中文命令词见下表。
| 默认固件支持的中文命令词 | 设备反馈 |
|---|---|
| 添加人脸 | 开发板录入人脸 ID |
| 识别一下 | 开发板显示识别到的人脸 ID。若无法识别,则显示 "WHO?"(谁?)。 |
| 删除人脸 | 开发板删除最新录入的人脸 ID,显示 "XXX ID(S) LEFT"(剩 XXX 个 ID)。 |
- 您也可以在执行完步骤 2 唤醒开发板后通过命令词切换开发板的工作模式,命令词识别成功后模组电源指示灯会闪烁。不同工作模式的命令词见下表。
| 不同工作模式的命令词 | 设备反馈 |
|---|---|
| 人脸识别 | 开发板若检测到人脸,则显示蓝色方框。 |
| 移动侦测 | 开发板若检测到物体移动,则左上角显示蓝色实心方框。 |
| 仅显示 | 开发板仅显示摄像头拍摄的实时画面。 |
| 停止工作 | 开发板停止工作,仅显示乐鑫标志。 |
至此您已经体验了开发板的主要功能。下面的章节将说明如何在开发板上烧录固件、硬件资源和相关文档等。
2. 开始开发应用
本小节介绍如何在开发板上烧录固件以及相关准备工作。
2.1. 必备硬件
- 1 套 ESP32-S3-EYE 开发板
- 1 根 USB 2.0 数据线(标准 A 型转 Micro-B 型),用于为开发板接入电源,并向开发板烧录固件
- 1 台电脑(Windows、Linux 或 macOS)
2.2. 可选硬件
- 1 个 MicroSD 存储卡
- 1 块锂电池
注意
请使用带有保护电路板的锂电池。
2.3. 硬件设置
使用 USB 数据线连接开发板的 USB 接口与电源,模组电源指示灯应亮起。如果未接入电池,则电池指示红灯闪烁。
硬件设置已完成,按照下列步骤配置软件。
2.4. 软件设置
准备开发工具,请前往 ESP-WHO 文档查看以下步骤:
- 获取 ESP-IDF,配置基于 ESP32-S3 的 C 语言 PC 开发环境。
- 获取 ESP-WHO,运行乐鑫图像处理开发框架。
- 运行 ESP-WHO 示例。
3. 硬件参考
本小节介绍有关开发板硬件的更多信息。
3.1. GPIO 分配
除了 GPIO3 可用于配置 LED 灯组合状态,ESP32-S3-WROOM-1 模组上的其他 GPIO 均已用于控制开发板的组件或功能。如果您想自己配置管脚,请参考相关文档部分提供的原理图。
3.2. 独立的模组与摄像头供电电路
ESP32-S3-EYE 开发板为摄像头和 ESP32-S3-WROOM-1 模组及其他器件提供独立电源,这样可以减少模组电路上音频信号对摄像头电路的干扰,提高开发板的整体性能。
![]() |
|---|
| ESP32-S3-EYE - 模组供电电路 |
![]() |
|---|
| ESP32-S3-EYE - 摄像头供电电路 |
4. 硬件版本
4.1. 改版历史
ESP32-S3-EYE v2.2 相对于 ESP32-S3-EYE v2.1 在硬件方面有两处变更:1) 主板丝印,2) 主板增加限流电阻;固件方面一处变更:增加对英文唤醒词和英文命令词的支持(具体见[英文版本文档])。
硬件方面的变更具体如下:
- 主板丝印(背面):ESP32-S3-EYE v2.2 的主板丝印为 ESP32-S3-EYE-MB_V2.2,ESP32-S3-EYE v2.1 的主板丝印为 ESP32-S3-EYE-MB_V2.1。
| ESP32-S3-EYE v2.2 主板丝印 | ESP32-S3-EYE v2.1 主板丝印 |
|---|---|
![]() |
![]() |
- ESP32-S3-EYE v2.2 的主板增加限流电阻 R83,防止用户误上拉 GPIO3 而烧坏模组电源指示灯。
| ESP32-S3-EYE v2.2 限流电阻 R83 位置 | ESP32-S3-EYE v2.1 无限流电阻 R83 |
|---|---|
![]() |
![]() |
- 因主板丝印变更和增加限流电阻同步更新主板原理图、主板 PCB 布局图、主板尺寸图、主板尺寸图源文件(见相关文档小节提供的文件)。
4.2. 已知问题
ESP32-S3-EYE 没有 USB 至 UART 桥接器,可能会出现已烧写的程序不停重启时无法再烧写程序的情况。
如果出现这个问题,您需要:
- 按住 BOOT 键再按住 RST 键,然后松开 RST 键,再松开 BOOT 键,然后开发板进入下载模式,开始下载程序。
- 下载完成后再按下 RST 键启动程序。
5. 相关文档
5.1. 技术规格书
5.2. 原理图
- ESP32-S3-EYE-MB v2.2 主板原理图 (PDF)
- ESP32-S3-EYE-MB v2.1 主板原理图 (PDF)
- ESP32-S3-EYE-SUB 子板原理图 (PDF)
5.3. PCB 布局图
- ESP32-S3-EYE-MB v2.2 主板 PCB 布局图 (PDF)
- ESP32-S3-EYE-MB v2.1 主板 PCB 布局图 (PDF)
- ESP32-S3-EYE-SUB 子板 PCB 布局图 (PDF)
5.4. 尺寸图
- ESP32-S3-EYE-MB v2.2 主板正面尺寸图 (PDF)
- ESP32-S3-EYE-MB v2.1 主板正面尺寸图 (PDF)
- ESP32-S3-EYE-MB v2.2 主板背面尺寸图 (PDF)
- ESP32-S3-EYE-MB v2.1 主板背面尺寸图 (PDF)
- ESP32-S3-EYE-SUB 子板尺寸图 (PDF)
- ESP32-S3-EYE-MB v2.2 主板正面尺寸图源文件 (DXF) - 可使用 Autodesk Viewer 查看
- ESP32-S3-EYE-MB v2.1 主板正面尺寸图源文件 (DXF) - 可使用 Autodesk Viewer 查看
- ESP32-S3-EYE-MB v2.2 主板背面尺寸图源文件 (DXF) - 可使用 Autodesk Viewer 查看
- ESP32-S3-EYE-MB v2.1 主板背面尺寸图源文件 (DXF) - 可使用 Autodesk Viewer 查看
- ESP32-S3-EYE-SUB 子板尺寸图源文件 (DXF) - 可使用 Autodesk Viewer 查看
有关本开发板的更多设计文档,请联系我们的商务部门 sales@espressif.com。









